1、范圍
本標準規定了扳手三爪鉆夾頭(以下簡稱鉆夾頭)的分類、尺寸和連接、扳手、技術要求、試驗方法、檢驗、命名、標志和包裝。本標準適用于錐孔和螺紋孔連接的鉆夾頭。
2、規范性引用文件
下列文件中的條款通過本標準的引用而成為本標準的條款。凡是注日期的引用文件,其隨后所有的修改單(不包括勘誤的內容)或修訂版均不適用于本標準,然而,鼓勵根據本標準達成協議的各方研究是否可使用這些文件的最新版本。凡是不注日期的引用文件,其最新版本適用于本標準。
GB /T 1 96 普通螺紋基本尺寸(直徑1^-600m m)
GB /T 1 97 普通螺紋公差與配合(直徑1^355m m)
GB /T 6 090 鉆夾頭圓錐(GB/T 6090-2003,ISO 239:1999,IDT)
JB /T 32 07 機床附件產品包裝通用技術條件
JB /T 55 63 金屬切削機床圓錐表面涂色法檢驗及評定
ISO 2 63 :1973 ISO英寸制螺紋一總方案及螺釘、螺栓和螺母的選擇直徑范圍。06-6英寸
ISO 7 25 :1978 ISO英寸制螺紋一基本尺寸
ISO 5 86 4:1978 英寸制螺紋一允差和公差
3 分類
鉆夾頭按用途不同進行如下分類
型式代號 型式 用途
H 重型鉆夾頭 用于機床和重負荷加工
M 中型鉆夾頭 主要用于輕負荷加工和便攜式工具
L 輕型鉆夾頭 用于輕負荷加工和家用鉆
4、尺寸和連接
4、1尺寸
4、1、1錐孔連接形式的鉆夾頭尺寸見圖1和表1。
GB/T 6087-2003


4.1.2 螺紋孔連接形式的鉆夾頭尺寸見圖2和表2。
GB/T 6087-2003


4. 2 連接
4.2.1 錐孔連接形式見圖3和表3。
GB/T 6087-2003


4.2.2 螺紋孔連接形式見圖4和表4。


5、扳手
5.1 鉆夾頭扳手分三種型式(見圖5):
型式1,用于重型、中型和輕型鉆夾頭;
型式2, 用于輕型鉆夾頭。
型式3,用于重型、中型和輕型鉆夾頭。
GB/T 6087-2003
5.2 鉆夾頭扳手外形尺寸和適用范圍見圖5和表5.


6、技術要求
6. 1 精度
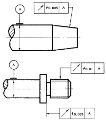
鉆 夾頭 的 精度是測定鉆夾頭所夾持規定長度檢驗棒的徑向跳動,見圖6e
徑 向跳 動 誤差是以指示器的最大讀數差值計。
對 于 H 型和M型鉆夾頭,應在其最大夾持直徑和大約1/2最大夾持直徑的兩個檢驗棒上進行測
量;對于L型的鉆夾頭,僅進行最大夾持直徑的測量。
鉆 夾頭 徑 向跳動允差和檢驗棒尺寸見表6,
GB/T 6087-2003


6.2 鉆夾頭的夾持范圍應符合表1和表2的規定。
6.3 鉆夾頭主要零件工作表面應經熱處理淬硬。硬度值應符合表7的規定。

6.4 鉆夾頭的錐孔用量規作涂色法合研檢驗表面接觸,接觸應靠近大端,其接觸比值不低于70%。
6.5 鉆夾頭按表8規定的輸人扭矩夾緊試棒,按輸出扭矩扭轉試棒,試棒不得打滑,鉆夾頭不得損壞和
發生異常。

6.6 鉆夾頭應運轉靈活,用扳手夾緊和松開夾爪時,夾爪移動和齒嚙合應無阻滯現象。
6. 7 鉆夾頭及扳手不應有裂紋、毛刺、銹蝕等缺陷;鍍鉻、發藍(或發黑)表面色澤應均勻一致,保護層不
得褪色和脫落;標志應清晰耐久、位置正確。
7 試驗方法
7.1 精度檢驗
7.1.1 檢驗用芯軸要求見圖7。

7. 1.2 檢驗用檢驗棒的尺寸見表6。檢驗棒應有足夠的剛度、硬度和穩定性。圓柱表面的圓柱度或圓
柱表面對兩端中心孔的徑向全跳動不大于0.01mm.
7. 1.3 鉆夾頭檢驗以錐孔或螺紋孔及端面定位,緊固在檢驗芯軸上,用扳手以三孔均勻地夾緊檢驗棒,
指示器測頭垂直觸及檢驗棒上母線,旋轉芯軸檢驗(見圖6)
7.2 夾持范圍
用夾持范圍規定的最小和最大兩根檢驗棒分別進行夾緊檢驗。
7.3 錐孔接觸檢驗
錐孔表面接觸涂色法檢驗用鉆夾圓錐量規與其合研進行。在量規表面均勻涂敷紅丹混合涂料或其
他合適的涂料,涂層厚度小于4Km,將其插人被檢驗孔內。檢驗和評定按JB/T 5563。
7.4 夾緊扭矩試驗
7.4. 1 扭矩試驗用試棒的硬度不低于55 HRC,表面粗糙度Ra值不大于。.8 Imo
7.4.2 夾緊扭矩試驗以鉆夾頭錐孔或螺紋孔及端面定位,并固定,依次均勻地在三孔上用扳手施加
表8規定的輸人扭矩夾緊試棒,再在試棒上施加表8規定的輸出扭矩Mm,.檢驗。見圖8。

GB/T 6087-2003
8 檢驗
8.1 鉆夾頭檢驗項目按第6章和第10章的規定,并應符合要求。
8.2 鉆夾頭產品出廠應經生產廠質檢部門檢驗合格,并附有合格證明文件。
9 命名
9.1 鉆夾頭的命名應包含名稱和型號。
9.1.1 鉆夾頭名稱:“扳手鉆央頭”;
9.1.2 鉆夾頭型號:
a) 鉆夾頭類代號J;
b) 表示 鉆夾頭型式的組系代號:
1) 采用錐孔連接形式的,組系代號為21;
2) 采用螺紋孔連接形式的,組系代號為31
c) 鉆夾頭最大夾持直徑,單位為毫米(mm);
d) 鉆夾頭型式(H,M或L);
e) 重大改進序號(若無內容可不表示);
f) 連 接 形式代號:
1) 錐 孔 連 接 形 式:莫氏錐度形用莫氏圓錐號賈格錐度形用大寫字母J加上錐度號;
2) 螺 紋 孔 連 接 形 式:英寸制螺紋或米制普通螺紋代號
示例 1:扳 手鉆夾頭,錐孔連接形式,B12莫氏錐孔連接,最大夾持直徑6.5 m m,重型,命名如下
扳 手鉆 夾 頭 J21 6. 5 H - B1 2
示例 2扳 手鉆夾頭,錐孔連接形式,B12莫氏錐孔連接,最大夾持直徑6.5m m,重型,第一次改進,命名如下:
扳 手 鉆 夾 頭 J2 16 .5 H A- B1 2
示例 3; 扳手鉆夾頭,錐孔連接形式,2s短賈格圓錐連接,最大夾持直徑10m m,中型,命名如下:
扳 手鉆 夾 頭 J21 10 M -J2 s
示 例 4: 扳手鉆夾頭,螺紋孔連接形式,英寸制螺紋代號1/2X 2 0,最大夾持直徑13m m,輕型,命名如下:
扳手 鉆 夾 頭 J 31 13 L-1 /2 X20
9.2 扳手的命名包含以下內容:
a) 扳 手名稱:“鉆夾頭扳手;’,
b) 型 式 代號:用大寫字母T加扳手型式號(1,2或3);
c) 扳 手 代號:用大寫字母N加扳手號(見表5)0
示 例 l: 鉆夾頭扳手,型式I,扳手號4,其命名如下:
鉆 夾頭 扳 手 Ti -N 4
示 例 2 鉆夾頭扳手,型式3,扳手號6,其命名如下:
鉆夾 頭 扳 手 T3 -N 6
10 標志和包裝
10.1 在鉆夾頭、鉆夾頭扳手和產品包裝盒上應有明顯的耐久性標志。
10.2 在鉆夾頭的明顯位置上應標注以下內容:
a) 商 標;
b) 型 號;
c) 夾 持 范圍。
10.3 在鉆夾頭扳手上應標注以下內容:
a) 商 標;
b) 型 式 代號和扳手代號。
10.4 在包裝盒或包裝箱上標注以下內容:
a) 商 標;
b) 型 號;
c) 夾 持 范圍;
d) 產 品 名稱;
e) 制 造 廠名、廠址;
f) 標 準 編號。
10.5 產品包裝應符合JB/T 3207的有關規定。
GB/T6087- 2003
扳手和齒圈的參數見圖A.1和表A. 1


附 錄 B
(資 料 性 附 錄 )
本標準與ISO 10887:1999技術性差異及其原因
表B.1 給出了本標準與ISO 10887:1999技術性差異及其原因的一覽表。
